近日,湖南省港航水利集团有限公司所属湖南省水运建设投资集团有限公司(以下简称“省水运投”)独立自主研发的“一种用于在原址改扩建船闸的施工方法”发明专利正式获得比利时联邦政府专利局授权,标志着我国在内河改扩建船闸领域的技术创新成果得到国际权威认可。该专利部分成果已同步应用于湖南省“十四五”重点工程——沅水洪江至辰溪航道建设工程,省水运投以技术创新与管理创新双驱动,树立了行业标杆。



图片来源于网络,如有侵权,请联系删除
▲官方证书。
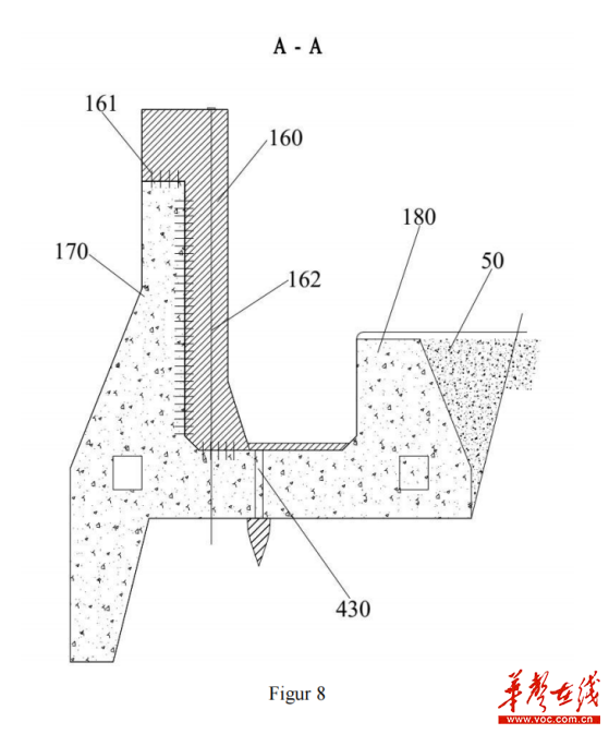
省水运投所属沅水洪江至辰溪航道建设工程是湖南省“十四五”水运规划建设重点项目,是有序推进湘江、沅水“一纵一横”水运“十字”大通道,实现沅水湖南段500吨级航道全线贯通的重要节点,对完善国家四纵四横两网高等级航道布局,加快支流高等级航道向重点经济区、城市群拓展延伸,充分发挥干支联运效益,强化中西部区域经济联动,助力“双循环”新发展格局具有重要意义。项目拟对洪江枢纽原300吨级船闸部分结构进行拆除,将原上闸首及一闸室改建为新船闸的通航明渠,为国内首例重力坝式船闸开凿通航水道,大面积新老混凝土结构结合无类似工程施工经验可供借鉴,也是国内首个将两级改造为单级的船闸,同时水头达到27米的高水头,在国际船闸改扩建项目中具有独特代表性。

图片来源于网络,如有侵权,请联系删除
针对传统改扩建船闸工程需建设深水围堰、周期长、成本高的行业痛点,省水运投坚持技术创新与精细化管理并重,采用大坝安全评价专题报审与“合理化建议”活动结合的统筹管理创新,组织研发团队实现三大技术突破:一是创新采用已有结构兼顾作为深水围堰,巧妙规避了改造现有挡水线建筑物需要在上游施作大型土石围堰工程的惯性思维,确保工程施工期安全;二是首创"分段切除-同步新建"施工法,通过精确控制目标切除面(误差≤3cm),实现新旧结构无缝衔接,有效将通航宽度从12米拓展至23米,单闸次通过能力提升140%;三是立体防渗系统研发"三线一墙"防渗体系(第一、二、三挡水防渗线+防渗刺墙),运用智能灌浆监测技术,使渗流量控制在0.03L/s·m以下,较传统工艺提升防渗性能300%。



▲核心技术方案。
该专利彻底解决了原址改扩建船闸技术难题,对未来沅水五强溪枢纽、凌津滩枢纽船闸改扩建工程具有指导和借鉴价值。同时,首创提出的在既有结构通过“切割+植筋+竖向锚定”施工方法,部分成果已转化运用于实际工程,已通过实践检验,专利提出的其他创新点可为未来湘桂运河梯级枢纽船闸提供技术支撑,具有广泛的工程实践应用场景。
本次国际专利授权是省水运投首次斩获欧美发达国家专利授权,也是湖南省港航水利集团首个独立自主申请授权的国际发明专利,对进一步发挥技术研发和工程实践优势,提升精细化管理水平,打造国内一流水运建设管理品牌,具有重要里程碑意义。
来源:华声在线
作者:卜曦
编辑:丁洵
